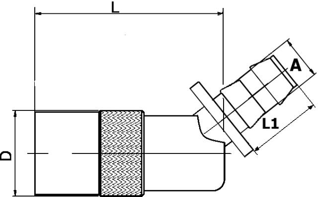
Coupler Push Lock, 45°
Push Lock coupling series especially developed for connecting coolant lines on injection moulds. Fully interchangeable with other brands with the same plug profiles. All dimensions and tolerances according to original specs.
Designed to connect Hose without use of clamp (Mouldpro Push Lock hose)
Working Pressure:
15 bar, maximum static working pressure with safety factor of 4 to 1
Working Temperature:
Water -15°C up to +140°C, Oil -15°C up to +180°C
NOTE: Without Hose Clamp only up to 90°C
Downloads
| Name | Download | File type | |
|---|---|---|---|
|
|
Datasheet-COUPLERS-International-Series.pdf | 543 KB |