3737

Multi Sensor Sæt TYPE FS - Til retur kredsløb

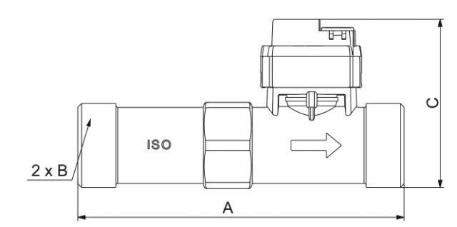
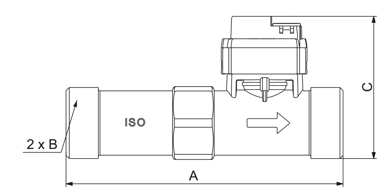
Denne unikke 3i1 sensor måler flow, temperatur og tryk og monteres typisk på retur kredsløbet. Kabel ikke inkluderet     

Max 120 grader C
0-10 Bar     
Flowrør fremstillet af rustfrit stål.

Downloads

Navn Download Fil type
Datasheet-FS-Multi-Sensors.pdf 149 KB
.pdf

You may also like